










智能温度控制器BPK104/105-PT100
一、产品简介
智能温度控制器是集温度测量、显示、输出、控制于一体的温度测控产品。该产品为全电子结构,前端采用进口铂电阻温度传感器,由高精度的A/D转换,经微处理器运算处理,现场显示,并输出一路模拟量和两路继电器信号。
该智能温度控制器使用灵活,操作简单,调试容易,安全可靠。广泛应用于水电,自来水,石油,化工,机械,液压等行业,对流体介质的温度进行测量、显示与控制。
二、技术性能
输 入 | PT100 |
测温范围 | -100~500℃ |
精度等级 | 0.5% |
输出信号 | 4~20mA标准信号输出(可选) 两路控制点继电器输出220VAC 3A |
供电电压 | 24VDC /220VAC |
显示方式 | 0.56" 数码管 |
显示范围 | -1999~9999 |
环境温度 | -10~+60℃ |
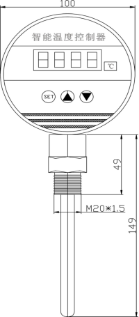
螺纹接口 | M20*1.5 |
管 径 | 8、10、12mm |
保护管材质 | 1Cr18Ni9Ti |
电气接口 | 接线端子 |
三、产品特点
● 100mm标准仪表安装
● 两路控制点现场设定
● 4~20mA标准信号输出(可选)
● 温度报警上下限在温度有效值内可以设置任意温度值
● 集温度显示、测量、控制输出于一体
● 供电24VDC或220VAC可选
四、
![]() |
五、产品选型
BPK104/105-PT100 | 智能温度控制器 | |||||||
0~X (℃) | 温度范围 | |||||||
J05 | ±0.5%FS | |||||||
C1 | 4~20mA输出 | |||||||
C5 | 两组开关信号 | |||||||
C0 | 特殊 | |||||||
M1 | M20×1.5 外螺纹 | |||||||
M0 | 特殊 | |||||||
V1 | 24VDC供电(BPK104) | |||||||
V2 | 220VAC供电(BPK105) | |||||||
F5 | 接线端子出线 | |||||||
F0 | 特殊 | |||||||